Research Assistance

  • home
  • /
  • Research Assistance

Research Assistance program

Allinnov’s Research Assistance program is for individuals and institutions/entities who require extensive innovative & industrial touched assistance in developing their concepts or research processes, while willing to transform their concept into a patentable invention.

Research Assistance program

Research is the prime aspect that fuels the business world. Every innovation or a remarkable solution provided to an existing or a future issue whether small or large is of a greater value. The net worth of an idea depends on the utility it provides and the extent to which it solves the issue. Not all concepts will be patentable in the ideation stage, adding industrial value and non-obvious novelty to the concept of bringing in a prolific transformation and value addition is the only key to patent an innovation. Many worthy types of research fail to achieve a good success just because of the failure to achieve industrial completeness. Industrial completeness is the prime factor that estimates the net worth of any research project, do not be a victim of an incomplete research being stolen by other potential robbers.

  • Have a concept?
  • Need extensive, quick and confidential support in adding industrial, commercial and market value by developing your concept into a patentable invention?
  • Need support in all tasks of patenting even until the grant of your patent application?

Just avail Allinnov's Exclusive Research Assistance Program, we hold your hands and assist you even from the creation of a concept until the patent gets granted. Here are the list of innovations and their provisional descriptions whose patent applications are published in the official gazette of the Indian Patent Office. You may also view the inventor details of the patent application by clicking the view inventors option under each concept.

For more details call us or write to us via email or with the Query form.

201741028574 - Dr. SRINIVASA RAO - TELANGANA

ALR201701 - A METHOD FOR TWO DIMENSIONAL DIGITAL IMAGE SKELETONIZATION AND ITS IMPLEMENTATION ON FIELD PROGRAMMABLE GATE ARRAY (FPGA)

This invention relates to a method for digital image skeletonization of two dimensional image its implementation on Field Programmable Gate Array (FPGA). The present invention uses number of steps to display the skeletonized image of the given input image. The time required to execute the proposed algorithm for 8x8 dimension image on FPGA reconfigurable hardware is 4.815 ns, maximum output required time after clock: 4.075 ns, maximum frequency:207.684 MHz, minimum input arrival time before clock: 2.284 ns. These values are for Virtex 5 FPGA board

View Inventors

201741030250 - Dr. Madan Kumar & Albert Francis

ALR201702 - A WATER PURIFICATION SYSTEM

A Water Purification System generally relates to the field of solar energy. In particular, the present invention relates to a solar still that has a pyramidal configuration and that is used for the purpose of distilling contaminated water.

View Inventors

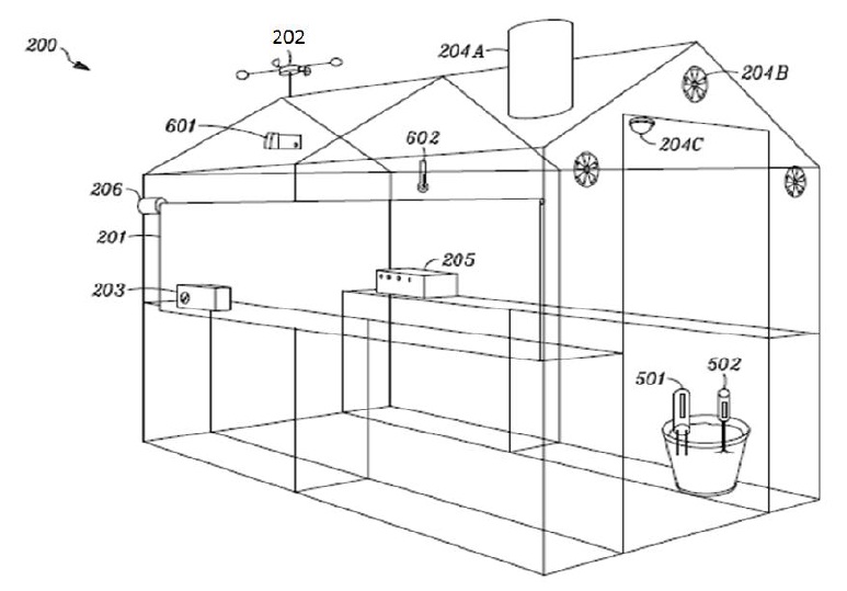
201741043835 - MALLA REDDY ENGINEERING COLLEGE FOR WOMEN

ALR201704 - AN ARRANGEMENT FOR CULTIVATION IN A CHAMBER USING FUZZY LOGIC WIND INTELLIGENCE TECHNOLOGY

This is an arrangement for cultivation in a chamber using fuzzy logic wind intelligence technology. The arrangement for cultivation in a chamber comprise of the module-1, in which module-1 further comprises a wind work interface board, a wind sensor and an Evane arrangement. The wind sensor senses the speed & direction of the wind and passes to wind work interface board and the E-vane arrangement. The data collect from the E-vane arrangement are displayed in its displayer. The wind work interface board expands the direction diverting layer to deviates the direction of the wind. The Module-2 co

View Inventors

201841010055 - MALLA REDDY COLLEGE OF ENGINEERING

ALR201805 - INTELLIGENT DISPLAY BOARD AND A SYSTEM TO DISPLAY DATA RECEIVED OVER A NETWORK

Disclosed are a system and an intelligent display board for wirelessly receiving data from computing devices over a network, and further displaying the received data. The system comprises a central unit and intelligent display board. The central unit processes the data received from the computing devices. The intelligent display board comprises an electronic enclosure, controller unit, display unit, wiping chamber unit, airbag unit, and holes. The controller unit receives the processed data and stores instructions pertaining to the protection of the electronic enclosure. The display unit displ

View Inventors

201841015551 - MALLA REDDY COLLEGE OF ENGINEERING & TECHNOLOGY (AUTONOMOUS)

ALR201806 - SYNTHESIS AND CHARACTERIZATION OF HYBRID NI-SIO2 NANOPARTICLES IN WATER-GLYCERIN BASE LIQUIDS FOR HEAT TRANSFER APPLICATIONS

The invention relates to hybrid nanoparticles of Ni–SiO2 were mixed in different proportions (hybrid) in water – Glycerin base liquid and estimation of dispersion behavior, determination of the effective thermal conductivity and viscosity and the estimation of forced convection heat transfer coefficients undertaken which are useful in the design of heat exchangers. The fundamental knowledge of the interactions of various parameters due to enhanced nanofluid thermal conductivity by 25% is useful in size reduction by 8 - 12% and consequently the cost of an automobile radiator and heat exch

View Inventors

201841015460 - MALLA REDDY COLLEGE OF ENGINEERING & TECHNOLOGY (AUTONOMOUS)

ALR201807 - AN AUTOMATED SYSTEM FOR ASSISTING PERSON OF MEDICAL NEEDS

An automated system for assisting person of medical needs, to remember their medication dosage timely, alerting about changes in health parameters, and also for recording health parameters for dispersal to medical professionals. The system comprises of a vending device which has an inference engine comprising a neuro-fuzzy Controller which accepts crisp inputs, converts and maps them onto fuzzy variables, performs fuzzification and defuzzification and generates an inference correlating with most appropriate action to be taken.

View Inventors

201841015510 - MALLA REDDY COLLEGE OF ENGINEERING & TECHNOLOGY (AUTONOMOUS)

ALR201808 - IMAGE SEGMENTATION FOR MRI BASED BRAIN TUMOR DETECTION USING CLUSTERING TECHNIQUES

The invention relates to the development of a new clustering technique i.e. Distributed Fuzzy C-Means (DFCM) to determine a more reliable and accurate segmentation to detect brain tumors which is implemented through Hadoop map reduce framework. The clustering technique is implemented on big data set using computer aided technology. A method for image segmentation using a clustering technique is disclosed. The method comprises the following steps: (a) pre-processing of brain images for enhancement purpose; (b) Segmentation of pre-processed images for separation of GM, WM, CSF and tumor; (c) are

View Inventors

201841015755 - MALLA REDDY COLLEGE OF ENGINEERING & TECHNOLOGY (AUTONOMOUS)

ALR201809 - ARTIFICIAL INTELLIGENCE ENABLED FERTILIZER DISPENSATION SYSTEM FOR BETTER YIELD OF CROPS

An artificial intelligence enabled fertilizer dispensation system for better yield of crops. The present invention is useful in dispensing the required amount of fertilizers for the crops in need by monitoring the chlorophyll and nitrogen status of the crops at regular intervals of time as defined by the AI enabled system using Image Processing techniques, which directly helps the farmers to realize an yield more than expected. A fertilizer dispensation system for better yield of crops comprises an image processing system, a RF module, an antenna, a control unit, and a fertilizer dispensation

View Inventors

201841015904 - CONFIDENTIAL

ALR201810 - MRI TUMOR IMAGE RETRIEVAL FOR SUPPORTING COMPUTER AIDED DIAGNOSIS

A method for finding efficient high performance content based medical information retrieval system with multiple feature extraction.More particularly, the present invention relates to a method for MRI tumor image retrieval for supporting computer aided diagnosis.A method for similar image retrieval from a database, said method comprises the following steps:(a) Inputting an image from a user for searching;(b) Extracting relevant features from said input image and stored database images;(c) Comparing the similarities between said input images with said stored database images; and(d) Retrieving s

View Inventors

201841004111 - CHITTI BABU K - KARNATAKA

ALRKA201811 - SELF-PHASED LEARNING DEVICE

This invention relates to a device Self-Phased Learning Device which will reduce the time taken by students to develop listening, reading, speaking and writing skills, rather just memorize any concept, lesson, subject or a language. This invention relates to three main important concepts that are visualization, listening and repeating which is an important part of learning.

View Inventors

201841011210 - Dr BHAGYASHREE S R & TEAM- KARNATAKA

ALRKA201821 - AUTOMATED SMART MEDICINE DISPENSING DEVICE

This invention relates to an automated smart medicine dispensing device for timely delivering the right medicine to the patient. 1. An automated smart medicine dispensing device comprising: (a) Microcontroller; (b) A plurality of medicine trays for storing medicines; (c) A stepper motor; (d) A display screen for displaying messages and time; (e) A real time clock (RTC); (f) A lid cover from where medicine can be taken out; (g) A plurality of buttons for setting time and other functions; (h) A SIM card slot; and (i) A socket for connecting electricity. A method for dispensing medicines for patients from said automated smart medicine dispensing device is also disclosed.

View Inventors

201841018072 - Dr VIVEK M BALSE- KARNATAKA

ALRKA201822 - URINE GLUCOSE LEVEL DETECTION DEVICE

The invention relates to a urine glucose level detection system for detecting level of glucose in patient’s body. The system includes a senor chip (placed in the mouth of the commode) when comes in contact with urine will detect the glucose levels and send the alert to the predestinated cell phone. A method for detecting urine glucose level using a urine glucose detection system is also disclosed.

View Inventors

201841022906 A - Dr DURGOJIRAO KHANDOJIRAO RAVISH-KARNATAKA

ALRKA201823 - ELECTROENCEPHALOGRAM SEIZURE DETECTOR AND PREDICTOR

This invention relates to a method for detecting, predicting seizure by electroencephalogram and system thereof. This method is a noninvasive and depends on measurement of brain electrical activity. The method comprising (a)Receiving the EEG signal from said electrode caps 102 to said computer 103;(b)Preprocessing the data received from step (a) by amplification;(c)Extracting the features from the received amplified data from step (b) by a feature extraction method; (d) Classifying the extracted data; and(e)Comparing the data for seizure prediction. The feature extraction method can be selected from the list of spectral energy, statistical method, multichannel feature or nonlinear method.

View Inventors

201841026027 - SHREYAS G U & TEAM-KARNATAKA

ALRKA201824 - SINGLE-WHEELED SELF-BALANCING ELECTRIC VEHICLE

THIS INVENTION RELATES TO A SINGLE-WHEELED SELF-BALANCING ELECTRIC VEHICLE, WHEREIN SAID VEHICLE COMPRISING: A MAIN FRAME ; A SHAFT ; A PLURALITY OF MOTORS; ACCESSORIES FOR TURNING MECHANISM ; A PLURALITY OF BATTERIES ; A HANDLE ; AND A WHEEL .THE HANDLE SUPPORTS THE PROCESS OF HOLDING. THE BATTERY OR BATTERIES IS USED AS SOURCE OF ENERGY FOR DRIVING THE VEHICLE FORWARD. THE BATTERY OR BATTERIES ARE PLACED BENEATH THE SEATING ARRANGEMENT OF THE VEHICLE. A BALANCING MOTOR AND SHAFT TOGETHER SUPPORTS THE PROCESS OF SELFBALANCING. A ROTATING MOTOR IS USED FOR ROTATION OF SINGLE WHEEL. THE TYRE MAY BE RADIAL, TUBED OR TUBELESS. SEATING CAPACITY OF VEHICLE IS ONE. THE HEAD AND TAIL LIGHTS ARE LED LIGHTS. THE WHEEL HAS A HUB MOTOR WITHIN WHICH THERE IS A STATIONARY CENTER SHAFT AND OPERATION OF THE MOTOR CAUSES THE ROTATION OF THE WHEELED VEHICLE DEPENDING UPON THE THROTTLE.

View Inventors

201841027780 - Dr.KG.THIRUGNANASAMBANTHAM & Team

ALR201825 - SEISMIC ISOLATOR DEVICE FOR SEISMIC PROTECTION

The washbowl fabricated from the results of the test specimens which made from the “Printed Circuit Board powder, Epoxy Resin, Epoxy Hardener and white colour pigment” it helps us to achieve low cost and weight when compared to the ceramic washbowl. The washbowl fabricated by using 50% of PCB powder and 50% of bonding material. The selected ratio is suitable to attain the increase in property of strength (tensile and compression) and hardness. The washbowl fabricated by using compression moulding technique. Because of better surface finish and improvement in strength. The fabrication of washbowl which will make from PCB powder is used to reduce the increasing number of electronic waste. The product made from E-waste is also could convert into powder by grinding process. Previous Washbowl Materials: Normally all washbasins are made using ceramic material only because of the durability and Strength. But nowadays Acrylic plastic, Stainless steel also used to produce washbasin. In far-reaching stainless steel is less expensive than the fired washbasin and low in weight. My washbowl Materials are. 1. Electronics waste Materials. 2. Weightless and Waste Materials.

View Inventors

201841033886 - INSTITUTE OF AERONAUTICAL ENGINEERING

ALR201826 - APPARATUS TO DETECT PHYSICAL PROPERTIES, AND PHYSICAL CHARACTERISTICS OF A CLOTH

FABRIC PROPERTY AND CHARACTERSTIC DETECTOR ABSTRACT: We need to make sure that the customer is aware of the properties and characteristics of the fabrics. It is the designer’s responsibility to select the appropriate fabrics for their intended applications, but it is the responsibility of the fabric producer to provide as much information as possible to help customers make appropriate fabric selections. Like physical properties, style characteristics, tactile characteristics, utility characteristics, durability and so on. The main aim behind the “FABRIC PROPERTY AND CHARACTERSTIC DETECTOR” is to identify the quality of a particular cloth. This product helps an individual to diagnose whether the price he disburses is worthy or not. It not only saves the money but also helps one to be conscious of health related issues like infections due to itching caused by low quality clothes. The product helps as a dyke between consumer and his worthful expenditure on clothes. It has a tiny display board on it, which displays the number of materials included in a cloth along with its percentages. It is also capable of identifying the color of a cloth. The product exhibits its nature when a piece of cloth is placed inside it where the sensors imagers are present. The product consists of few input devices for controlling. 1. GADGET DISPLAYS FOLLOWING PROPERTIES AND CHARACTERSTICS OF FABRIC 1.1. Physical properties of Fabrics Physical properties are the static physical dimensions of fabric. The following physical properties are used to define the static physical dimensions of strand fabrics: • Fiber or filament: type, size, length • Yarn: diameter, twist, weight or size, count, fiber content for mixed yarns, ply. • Weight: ounces per squared or yards per pound. • Thickness: vertical depth. • Fabric structure • Woven fabrics: weave type, warp and filling yarn count per linear inch • Knitted fabric: knit type, wale and course count per inch • Finishes: chemicals such as resins, starches, waxes and mechanical effects such as • Calendaring and napping applied to the woven fabric to yield or enhance style, durability, and utility values. • Fabric width: The length of the filling or course • Color: Hue, value, and intensity (degree of brilliance) • Fabric density: weight per unit of volume. • Surface contour: the geometric dimension of the surface plane. 1.2. Physical characteristics of fabrics Physical characteristics are the dynamic physical parameters of fabric. They are physical changes in the fabric that result from applying outside forces on the fabric. Most of the durability and utility values of fabric are characteristics and not properties. There are four major categories of fabric characteristics that interest the apparel manufacturer. They are: • Style characteristics • Utility characteristics • Durability characteristics • Product production characteristics There are often correlations among the four types of characteristics. A utility characteristic such as fabric elongation will be correlated to a working characteristic such as sewing without stretching. 1.2.1. Style characteristics of a fabric Style characteristics are those changes which affect the emotional appeal, the fabric imports to the consumer. This is exemplified when a consumer handles a fabric and refers to the fabric with adjectives such as stiff, soft, hand, etc. The three basic categories for style characteristics are: • Hand characteristic – are the changes of the fabric plane with hand manipulations, which exert tensile compression, molding, or supporting forces on the fabric. The hand characteristics include some of the utility characteristics, such as elongation, elasticity, flexibility, etc. • Tactile characteristics – refer to the changes in surface contour that result from a mechanical force exerted on or against the surface structure. These changes apply to the surface contour aspects of the fabric surface and not the fabric plane. The surface contour changes dimension under tactile pressure (no matter how small the pressure) this is a tactile characteristic. Pile, napped, and any fabric whose surface contour can be varied by tactile pressure, have obvious tactile characteristics. Designers specify tactile characteristics with terms such as soft, coarse, rough, hard, smooth sticky, oily and greasy. • Visual characteristics – are the changes in the color values when either the fabric or light is moved. End – to – end shading, side – to – side shading and mark – off are three color quality problems in addition to metamorphic fabrics. o End – to – end shading – refers to changes in shade throughout the length; the shade of one end of the bolt differs from the shade of another end. o Side – to – side shading – refers to changes in shade from selvage to selvage; the shade of the fabric along one selvage differs from the shade of the fabric along the other selvage. o Mark – off – in the fabric is the phenomena of changing the shade and/or the intensity of the fabric surface by rubbing it. o Metamorphic – fabrics exhibit color difference with the change in the spectral distribution(characteristics) of the illuminant 1.2.2. Utility Characteristics Utility characteristics are changes in the fit, comfort, and wearing functions of the garment when the fabric engages a mechanical thermal, electrical, or chemical force during the utilization of the garment. The two major types of utility characteristics are transmission and transformation. A transmission characteristic transmits mass or energy through the fabric. Transmission characteristics include: • Air permeability ( includes all gases and vapor) • Heat transmission ( thermal conductivity) • Light permeability • Moisture transmission • Radioactivity transmission (the degree with which radioactive energy such as x-ray and gamma rays can penetrate fabrics).Transformation characteristics charge a physical property of the fabric. The property dimension(s) is altered without destroying the fabric. Changes which disintegrate the fabric are durability characteristics. Transformation characteristics include: o Colorfastness o Crease resistance o Crock resistance o Dimensional stability o Pilling o Shrinkage o Static electricity etc. 1.2.3. Durability characteristics Durability characteristics are the capacities of fabric to maintain the style and utility characteristics during wear. It is the measure of stress which destroys the fabric or the fabrics ability to repeat a desired style or utility characteristic. The durability characteristics are: • Abrasive strength (the measure of rubbing action) • Bursting strength (the measure of vertical pressure) • Launder-ability (the measure of washing) • Tearing strength • Moth resistance • Tensile strength • Radiation absorption strength (the rate at which radiation energy either disintegrate a fabric or destroys utility characteristics). • Fire resistance • Corrosive strength ( the measure of chemical action, acid or alkaline) • Dry cleaning durability ( the measure of dry cleaning performance) 1.2.4. Product Production working characteristics Product production working characteristics are those characteristics which affect the quality of production with respect to quality values and the cost of production method. The working characteristics of a fabric include: • Coefficient of friction ( cutting, sewing, pressing and packing) • Sewed seam strength • Sewed seam slippage (yarn slippage) • Sewing distortions • Yarn sewerage • Bond ability strength (fused, cemented, and heat – sealed seams • Pressing mold ability (to what degree a flat piece of fabric may be skewed during pressing with hand and /press buck). • Die mold ability – how well a flat seamless piece of fabric may be molded with dies into a given from such as a bra cup or a hat.

View Inventors

201841029579 - Dr. A.G GANESH KUMAR & Team

ALR201827 - WASHBOWL FROM E WASTE MATERIALS

The present invention discloses a process of preparing a three dimensional objects from the E waste material. The process comprising collection of various types of e waste material, segregation of the soldering parts and waste materials from the e waste material, Isolation of valuable materials by routing machine, conversion of said e waste material to powder of e waste material using the grinding process, preparation of specimen mixture by mixing powder of e waste material with a bonding material; wherein the ratio of powder of e waste material and said bonding material is 50:50 and fabrications of three dimensional object using compression moulding process. The e waste material is printed circuitry board (PCB) and three dimensional objects is a washbowl. The bonding material comprises epoxy resin, epoxy hardener, white color pigment and any similar type of materials and the ratio of e waste material powder and the bonding material is suitable to increase strength and hardness of the washbowl.

View Inventors

201841044752 - MALLA REDDY ENGINEERING COLLEGE (AUTONOMOUS), DEPARTMENT OF ELECTRONICS AND COMMUNICATION ENGINEERING

ALR201828 - AN EMPLOYEE MANAGEMENT SYSTEM

Present invention relates to an employee management system, comprising of a GPS tag worn by the employee; a LCD display board screen connected to a power supply, said LCD display board provides details and location of an employee in an organization, on request, wherein the LCD display board screen has a computer network which shows the details and location display board and the GPS tag.

View Inventors

201841038007 - DR. G. SURESH KUMAR AND TEAM

ALR201829 - FUEL FLOW VOLUME MEASURING DEVICE

The present invention discloses a fuel flow volume measuring system which measures the amount of fuel filled in the tank. A fuel flow volume measuring device comprises a vehicle, a fuel flow discharge calculator, a number of patch chord, a main control unit and a power supply cable. The device is placed between fuel tank inlet and fuel tank and can be used in both the two wheeler and four wheeler vehicles to measure the quantity of filling fuel. The device is showing the discharge quantity of fuel which crosses this device from fuel tank inlet into tank and calculates the exact quantity of fuel. The device also transmits the calculated fuel quantity to the userâ„¢s mobile via mobile app as well as GSM technology. The device takes power from the battery of the vehicle

View Inventors

201941002552 - DR.IBRAHIM PATIL&TEAM

ALR201830 - WHEELCHAIR DRIVEN CONTROLLED BY PV ARRAY

Present invention relates to a wheelchair with speed controller. More particularly, the invention relates to a wheel chair which has an accelerometer and pre fed destinations. According to an aspect of the invention, there is provided a robust low-cost high-end smart wheel chair for physically disabled persons with freedom of mobility, comprising a seat for seating of the person; foot rests for resting personâ„¢s legs; two pairs of wheels controlled by an accelerometer; body parameter monitoring sensor with alarm system; robust navigation and guidance system up to a desired destination; a photovoltaic source for providing a battery backup; Switching Reluctance Motors with a boost converter; a speed controller wherein all functions of motors, boost converter and accelerometer are controlled by a microcontroller.

View Inventors

201841042218 - Dr. SALENDRA GOVINDARAJULU

ALR201831 - A SYSTEM FOR MANAGING POWER CONDUCTORS

Present invention relates to a system for sensing a break along a power conductor which is used to distribute electrical power from a pole point and then along the conductor to another pole, comprising: an interactive unit; a detection unit; wherein the detection unit detects the breaking of the power conductor, and wherein the interactive unit falls down along with the power conductor on breaking.

View Inventors

201841043549 - Dr.KG. THIRUGNANASAMBANTHAM

ALR201832 - AUTONOMOUS AERIAL VEHICLE

Present invention relates to an autonomous aerial vehicle. More particularly, the invention relates to an autonomous aerial vehicle capable of changing modules, without much alterations. There is provided an autonomous aerial vehicle, comprising an umbrella shaped cover, covering a plurality of motors; a plurality of movable arms, a plurality of propellers are placed over the plurality of arms; a top plate; a bottom plate; arrangement for placing a module; wherein each arm is at an equal angle with each other; wherein the number of motor is equal to the number of arm.

View Inventors

201841045578 - NARSHIMA REDDY ENGINEERING COLLEGE

ALR201833 - A WHEEL COVER TO UNSTUCK A VEHICLE

Present invention relates to field of wheels for automotive industry. More particularly, the invention relates to a wheel per se or a wheel cover having arrangements for uplifting a vehicle stuck in a mud/sludge/snow or any scenario where the vehicle wheels gets stuck and need to be uplifted. According to an aspect of the invention, there is provided a wheel cover to unstuck a vehicle, said wheel cover comprises of a hub extended to touch a rim; at least two symmetrically placed retractable arms on edges of the rim; an arc shaped foot at end of each of the arm; wherein the arms can protrude out when the vehicle is stuck, thereby allowing the vehicle to be supported on the foot and raising the wheel above surface; and wherein the rim has grooves from where the foot protrude out

View Inventors

201841047222 - DR. B. SHADAKSHARAPPA AND TEAM

ALR201834 - A DATA STORAGE DEVICE

Present invention relates to a data storage device. More particularly, the invention relates to a highly protected secured data storage device, controlled by a software application. According to an embodiment of the invention, there is provided a data storage device, said device comprising a storage component; a wireless transmitter; a laser projector; a location identifier; a power source; wherein the data can be transmitted to the device from an electronic system, via wireless transmission and can be projected through the laser projector; and wherein the device is secured by invisible wireless communication protocol and not recognizable by unknown devices.

View Inventors

201841003300 - Dr. G.N. BALAJI

ALR201812 - APPARATUS AND METHOD FOR PARAMETERIZING AND UPDATING AN ADAS AND REGULATION THEREOF

The present invention relates to parameterizing and upgrading the advanced driver assistance systems and regulating them. The advance driving assistance system in a vehicle comprise of the vehicle module, the driving module and the environment module. The vehicle module further comprise of adaptive cruise control (ACC), at-least one lane departure warning system, at least one hazard recognition system, at least parking assistance system and at-least two blind spot detection system. The adaptive cruise control (ACC) further comprise of plurality of sensors, at-least one actuator, an ACC controller and one human machine interface (HMI) controller. The environment module further comprise of infrastructure, traffic and disturbances. The driving module further comprise of at least one storage element and steering arrangement. The steering arrangement further comprise of at-least one test driver, one automated driver and steering control unit. The method of the advance driving assistance system comprising the multiple steps such as receiving ricochet signals to said plurality of sensors of ACC from environment module; transmitting ricochet signals to ACC controller; Processing and decoding ricochet signals by the ACC controller; communicating decoded signal with the said actuator and said driver module by the said ACC controller; storing the signal receive by the driver module in the storing element; controlling the steering on the basis of decoded signal by steering control unit; regulating the steering control unit by test driver and automated driver; and storing the Integrity of change in steering with algorithm in the storage element.

View Inventors

201841044346 - MALLA REDDY ENGINEERING COLLEGE (AUTONOMOUS), DEPARTMENT OF ELECTRICAL AND ELECTRONICS ENGINEERING

ALR201835 - A HYDRATION TRACKER SYSTEM

The present invention provides a system for reminding a user for drinking water, said system comprising: a flask for storing water; a hydration tracker; wherein said hydration tracker tracks the hydration level of user and connects to the flask, as and when the hydration level goes below a threshold level. Furthermore, the flask is modified to have an upper water storage part and a lower printer part, wherein the lower printer part acts as a portable printer comprising a cartridge, a paper roll and a battery.

View Inventors

201841049827 - Dr.R.ELAKKIYA

ALR201836 - VISION BASED SIGN LANGUAGE RECOGNITION AND VISUALIZATION DEVICE

Present invention relates to a vision based sign language recognition and visualization device. More particularly, the invention provides a device for automatically recognizing a very large vocabulary of sign sentences through video sequences. According to an aspect of the invention there is provided a gesture translating device which can translate sign language into spoken language and also spoken language into sign languages in long video sequences for differently able person, said device comprises an electronic device with a 3D imaging device and motion/thermal sensors; an audio input and an audio output device, from a second person; a processing unit having a 3-SU subunit sign modelling framework; wherein a Bi-fold Bayesian Parallel Hidden Markov Model (BPaHMM) is introduced to classify manual and non-manual features of sign languages from continuous video sequences captured by the imaging device.

View Inventors

201841049124 - Dr. N DINESH KUMAR

ALR201837 - HYGENIC AUTOMATED FOOD PROCESSING MACHINE (HAFPM) USING PNEUMATICS THROUGH PLC

The customary technique for cooking is non-hygienicand requires a lot of labor. Gazing from vegetables washing/cutting to flushing of rice. We are not guaranteed of same taste in manual cooking process. This work was taken up with a view to enhance the present arrangement of nourishment handling and keeping up a hygienic situation with same taste every time as made by the manual procedure. In the cooking process, all the vegetables should be washed, sliced and have to be mixed with the ingredients along with the oil at exact time in required proportion to get vegetable curries.If the same process has to be carried out for meat items, instead of vegetables meat can be used as the product. Rice should be washed and cooked for the predefined time to get plain boiled rice. If required the above two processes can be carried out in sequence to get different variety of rice items. The Programmable Logic Controller strategy implementations for a control task closely follow the development of an algorithm and produce the solution in a finite number of steps.

View Inventors

201941001280 - NAGULAPALLY KASIVISWANATH & TEAM

ALR201938 - A SMART COMB WITH MACHINE LEARNING

Present invention relates to a smart combing device with machine learning for calculating hair health parameters. More particularly, the invention relates to a combing device which can be connected to an electronic device wherein the health parameters can be displayed. there is provided a smart combing device with machine learning calculating hair health parameters, said device comprises: a upper base and a lower handle; a plurality of combing tooth attached to the base; a charging port attached at the handle; said upper base is a case enclosing batteries, central processing unit, and sensors, and attached to the base on the other side of the plurality of combing teeth; wherein said combing device is capable of being connected to an software application.

View Inventors

201941001501 - CONFIDENTIAL

ALR201939 - QUANTUM COMPUTING BASED SYSTEM AND METHOD FOR GEOMETRY RECOGNITION OF AN OBJECT

A quantum computing based system for geometry recognition of an object that comprises a gamma and photogrammetry scanning unit, quantum computing processing unit, and computing unit. The gamma and photogrammetry scanning unit scans an interior portion and exterior portion of the object and generates scanned data. The scanned data comprises video data and imaging data of the object. The quantum computing processing unit comprises a processor, comparison system, and renderer unit. The processor processes the scanned into a three-dimensional object data. The three-dimensional object data comprises three-dimensional edges and vertices of the object. The comparison system receives and compares the processed data with a pre-stored geometry of the object. The renderer unit receives the compared data and renders a three-dimensional geometry of the object. The computing unit receives the rendered three-dimensional geometry of the object and displays the three-dimensional geometry of the object through a display module

View Inventors

201941001507 - CONFIDENTIAL

ALR201940 - DOMESTIC BIRDS PROTECTIVE SYSTEM

This invention comprises of birds cage designs that observes/reflects all the radio waves right at the cage walls to protect the wellbeing of the birds inside of cage comprising of an automated and birds biological disposals cleaning system into the cage itself which operates for itself whenever required. The bird cage comprises of multilayered, transparent, multi-material walls that does not allow any kind of radio waves to enter into the cage/sanctuary. This invention also provides a best adoption in for bird sanctuaries/ pet houses and birds has the ability to not cleaning and reflect/observe the radio waves to protect the cage lives, thus providing a better solution for birds through proactive, protective shielded cages by multiple absorption and reflective materials.

View Inventors

201941005163 - DR.A. DEVARAJU

ALR201941 - SYNTHESIS OF FUNCTIONALLY GRADED CERAMIC COMPOSITE MATERIAL FOR RADOME APPLICATION

A radome is structural weatherproof which protects the radar antenna. As this is operated at high elevated temperatures and environmental conditions it is to be designed in such way to withstand the above critical properties. These conditions resulted in developing the multi layered structure for the radome walls. These multi layered walls have higher stiffness then the conventional monolithic walls. Transmission efficiency in a multilayer system will increase as the dielectric constant of the skin and core decreases, the number of layers increases, the skin thickness become smaller. To fabricate this walls material like silicon nitride and fused silica are used in satisfying the optimum operating conditions for the radomes.

View Inventors

201941006216 - DR. SHESHIKALA MARTHA

ALR201942 - SMART EMPLOYEE MONITORING SYSTEM

Present invention provides an employee monitoring and automatic attendance to origination without any disturbance to the employees. More particularly, the invention provides wireless communication modules to help the workers/operators for monitoring their work. According to an embodiment of the invention, there is provided an employee monitoring system, said system comprises: a microchip to be carried by the employee; a device for scanning the microchip; a computer system for receiving information from the device; wherein the device scans the microchip and transfer the information related to location of the employee to the computer system, via Internet of Things.

View Inventors

201941008635 - GURUVIGNESH.K AND TEAM

ALR201943 - SYSTEM AND METHOD OF COMMUNICATION TO COMPUTERS FOR DIFFERENTLY CHALLENGED HUMANS

A system and method comprising hardware and software components for the differently challenged humans to communicate with computers. Hardware components include Optical mouse, Speaker, Microphone, Sound card, USB Hub connector. Software components (open source) are used to recognize facial expressions and voice signals. An Optical Mouse has three push buttons i.e. Lbutton, R-Button and M-button. In this device the arrangement has been made such that L and R buttons are attached to the left and right parts of the mouse and / or the hub connector. For instance, to open/close a word file on a computer screen, it can be done by the movement of the left cheek which is attached to the L-button. The Image processing software will assist detection of head movements of the user to corresponding actions performed on computer screen. An added feature is available i.e. voice recognition software which detects the voice commands of the person to perform the specific actions on screen.

View Inventors

201941010240 - Dr.N.K.RAJAN AND TEAM

ALR201944 - MOTOR VEHICLE DOCUMENT VERIFICATION SYSTEM FOR PUBLIC ORDER

The motor vehicle document verification system for public order / traffic police is important to carry out several procedures: traffic citation, annual vehicle registration, vehicle annual safety inspection, and also it plays vital role to carry out post-accident procedures. The card is visually scrutinized by the respective personnel (i.e. police officer, tax assessor, safety inspection personnel, etc.). This system is intended to be a legal document that confirms the driversâ„¢ acquisition of insurance coverage, RC book and vehicle safety updating documents. Yet, in reality, its authenticity is often resort to a range of methods to avoid the financial burden of all coverages. For example, some motorists may terminate all documents and insurance coverage after implementing this system. Hence, the system is only a testimony that all documents and coverage was in force at the time it was implemented. Moreover, with the proper computer software, a counterfeit system can be produced, and presented as proof of documents.

View Inventors

201941015209 - Dr.T.AHILAN AND TEAM

ALR201945 - SYSTEM AND METHOD OF HIGH PERFORMANCE VALVELESS PULSEJET ENGINE

Pulsejet is a propulsion device ideally suited for MAV applications because of its low cost, simplicity and scalability. Unsteady flow and Complex mixing of fuel, air and residual hot gases in a pulsejet makes scaling and it’s modelling & analysis extremely challenging. The design of valve less pulsejet is based upon the pulsating combustion due to the supply of fresh air mixed with fuel and dynamic outlet of hot gas for thrust Production. This project work focuses on the design and analysis of Valve less pulsejet engine. In order to investigate the flow phenomena and its operating Characteristics in a valve less pulsejet engine, the designing is carried out Using CREO PARAMETRIC 2.0 and the analysis is carried out using ANSYS-Fluent software package. A comparative study between valve less Pulsejet engines of different combustion chamber diameter have been done. The optimum range for combustion chamber diameter is 70𝑚𝑚 to 90𝑚𝑚 chosen and the Pulsejet with 80 𝑚𝑚 combustion chamber diameter produces higher Thrust than 70𝑚𝑚 and 90𝑚𝑚 pulsejet engines.

View Inventors

201941011890 - Dr.SEENA NAIK KORRA&TEAM

ALR201946 - SYSTEM AND METHOD OF VEHICLE DOCUMENT INSPECTION AND AUTHORISATION OF VEHICLES

The invention solves the problems of the manualdocument verification process and also avoids illegal driving without licences on the roads for the purpose of reducing accidents andhave controlled law and order. The invention is based on the document inspection and authorization system,• which has two major areas. The first one is a driving license and vehicle key modification Module. The other one is a document verification system for vehicles and also it includes the driving license verification method. The invention can detect whether the rider is authorized with a driving license or driving without driving license. In this invention, the driver™s license is merged with the vehicle key to drive a vehicle. To implement this invention government is required to provide one part of the key with a license. Every vehicle™s key must support should be compatible with the second half of the key and the completed key only is only acceptable by vehicle key lock. Another feature in this invention mainly focuses the traffic police management for vehicle document and license verification purpose. This system helps the police to verify the documents and insurance papers with a vehicle™s unique identity without halting or without disrupting persons who have proper documents. The vehicles are identified with its registration numbers then all information about that vehicle is displayed with confirmation of truly validated documents also with owner details. If any information is invalid or expired then only that particular vehicles will be enquired by police officers.

View Inventors

201941017857 - Dr. SEENA NAIK KORRA AND TEAM

ALR201947 - Bio-Metric and Eye Singled Based Writing Board with Secured and Authentication Features

Bio-metric and eye singled based writing board with secured and authentication features is the system of biometric identification of an individual using eye signals in real time. The setup is included within a board computing device with identification of the device placed board based on iris recognition within one or more cameras directed at one or both eyes, and/or other physiological, anatomical and/or behavioural measures. The Verification of user identity by the device can be used to enable or disable the display of secure information that is transmitted from the board device in order to determine appropriate security measure by remote processing units. The device which is incorporated within the server connected to the computing boards performs other functions including viewing the surrounding environment using camera(s), recording audio data via a microphone, and/or other sensing equipment

View Inventors

201941024619 - K.S.SREENIVASAN AND TEAM

ALR201948 - AN APPARATUS FOR TRASH COLLECTION WITH USER INTERFACE SYSTEM

A dustbin that prevents spread of epidemic diseases like cholera, typhoid, malaria, etc. also the same apparatus helps society to keep clean and healthy environments. But such a device requires some features for avoiding over filling and biodegradable / non-biodegradable wastes must store separately in dustbins for using proper waste management techniques Effective degradable and non-degradable waste management techniques. Here the invention developed overcomes the above-mentioned problems through presently unavailable features in garbage bins. In aspects, the dustbin has opening and closing controls in waste intake door, it is controlled by human interface systems with switches. Once the user comes and actuates the start button, the system gives greetings in regional languages and also it gives instructions on what kind of wastes can dumb in this dustbin. If dustbin is already full, the system gives another instruction and nearby dustbin address and locations. The system gives greetings and instructions are both visual and audio outputs. The required power for dustbins is gathered from solar power systems.

View Inventors

201941021853 - Dr.B.ARTHI AND TEAM

ALR201949 - A SYSTEM AND METHOD OF GAS LEAKAGE PREVENTION, INDICATION AND SELF SERVICING FOR AIR CONDITIONER

A system and method of gas leakage prevention, indication, and self-servicing for air conditioner employing electronic processing means for initially diagnosing the air-conditioning system. Safety plays a major role in todays world and it is mandatory that good safety systems are to be implemented at home and in places of education and work. The proposed model aims at detecting and reporting the gas leakage and fire from the air conditioners cylinders. This enhances the safety in Air-Conditioner and hence can be used in homes and offices. Leakages of gases and fire accidents because of Air Conditioner are becoming very common nowadays. Such accidents have claimed many peoples lifes in the recent past.

View Inventors

201941032081 - Dr.G.PADMAPRIYA AND TEAM

ALR201950 - A SYSTEM AND METHOD FOR TEXT SUMMARIZATION AND DATA EXTRACTION

From many years, summarization and data collections are done by humans manually. In the present time, the amount of information is increasing gradually by the mean of the internet and by other sources. To overcome this manual summarization and date reduction issues, text summarization is essential to tackle the overloading of information. Text summarization helps to maintain the text data by following some rules and regulations for efficient usage of text data. The inventor invented the invention for solving those problems in the invention by using deep learning algorithm. A system and method comprise; the proposed system has ability to scans the textbooks or receives the data from soft copy components and loads data to feature matrix to perform software level deep learning algorithm for making summarization. The invention may give outputs in the way of soft copies, printouts, etc.

View Inventors

201941015990 - D.NARENDHAR SINGH AND TEAM

ALR201951 - A SECURE SAVERS SYSTEM FOR ENSURING SAFETY OF FUEL

The purpose is delivery of oil and petroleum securely, tracking the vehicle for majoring in the security of the fuel because every drop counts. . An effective Smart Locking System for fuel and oil tankers is implemented using the Arduino integrated with Global Positioning System (GPS), Flow Sensor, and Global System for Mobile Communication (GSM), Camera, Finger print sensor, and servo motor. In this locking system the GPS is used to extract the location of the vehicle. The flow sensor gives the accurate flow measurement. LCD is used to display the messages of the flow sensor, arrival of the supply point, accessing of the finger print sensor. Whenever the tanker terminates in the middle of the route the GSM sends the message to the retailer about it. The camera monitors if anyone tries to break through the lock. The finger print sensor is used to open the lock securely. Only the authorized retailer can open the lock. The servo motor is used for the opening of the lid. The software will be tracking timely information about the vehicle.

View Inventors

201941014966 - DR. D. SUBBA RAO AND TEAM

ALR201952 - REALITY OF SIXTH SENSE RECOGNITION

Concept of reality of sixth sense came in to existence with the superstitious beliefs that during the night late hours as the dogs bark in street, is a blind belief that something unusual thing is seen to the eyes of dogs hence it continues its barking as a symbol of unusual effect. The other way of belief is that when there is sudden disturbance about to happen in environmental conditions, at that instant also the some of the strange living beings can easily identify the natures imbalance and gives the signal of alarm in advance. The ultimate intension of sixth recognition is to identify the superstitious beliefs and capture the senses of using the IR sensors and effective capturing devices, process by using the image processing tools. Visualize the same processed data by nullifying the noise by using advanced matched filters. The noise nullified processed data is then interfaced to the real human eye as a verification process of superstitious beliefs. Compare the results captured from the live sense to the visual interface to human eye. Once the belief is identified, is captured, visualized processed and compared with an interface to the naked eye. As a part of conclusion, it is very effective to identify the senses of living beings responses of unusual things. Hence the same is directly seen with the naked eyes with the sophisticated interfacing device instead of just starring at the unusual and unexpected things created in natures imbalance.

View Inventors

201941017055 - Dr. S.K.BIKSHAPATHY AND TEAM

ALR201953 - DEVELOPMENT OF GAS INSULATED OR XLPE RELIABLE UNDER GROUND CABLES TO SUIT DIFFERENT SOIL PROFILES

The gas filled/ cross linked poly ethylene (XLPE) underground three core cable comprising stranded conductor covered by impregnated dielectric material filled with Sulphurhexa-fluoride gas or covered with XLPE material. The three conductors are fitted in a lead sheathing. The outer two layers are covered by armoring and serving of superior quality dielectric material.To prevent such recurring failures and to avoid traffic disturbance, design and development of improved version of cable technology over the existing cables of Rubber, VIR, impregnated paper, PVC is proposed for invention to study in this project. Main parameters to be focused on design of the underground cables are thermal resistivity of soils, resistivity to water content, mechanical, and resistivity to electro chemical reaction / soil conditions. The material specifications of outer layers of underground cables i.e., Armoring and serving layers play an important role for development of reliable cable for power transmission through underground soil medium. This work mainly for development of Gas Insulated or XLPE or oil Paper Insulated cables.

View Inventors

201941014706 - VIVEK N - KARNATAKA

ALRKA201954 - RAPID AMBULANCE TRANSPORTATION SYSTEM

A rapid ambulance transportation system comprises a fixed Truss tower, hybrid ambulance vehicle, Stay-cables, Base protector’s, solar panels, first rail track and second rail track, pick-up platforms, hospital platforms, wheels, and bearing. The fixed tower is installed on a mid-divider of the road. The hybrid ambulance vehicle is configured with the fixed tower. The fixed tower is installed at a predefined height above the road level to provide support and guidance for the hybrid ambulance vehicle to operate at predefined speed and follows existing road routes. The plurality of stay-cable attached or runs directly from the fixed tower and anchored into one or more top ends of beams and top of horizontal rail tracks to give a greater stiffness to fixed tower and to rail tracks and also to prevent tilt or slide of the fixed tower. The stay-cables are both strong and flexible, this makes long span fixed truss tower transportation susceptible to wind forces. The rail tracks which carry tremendous weight (load) of the vehicle are supported from above using tension in the cables and compression in the fixed tower. The base protectors (reinforced concrete base protectors or Steel base protectors) are used for protecting both fixed tower and vehicles from damages and also base protectors holds stiffness and strengthening of the fixed tower installed in a small height or predefined height from the road level. The solar panels supply electrical energy to rails and street lights. The first rail track and the second rail track are connected in parallel and fitted at an end of the left beam and the right beam.

View Inventors

201921007163 - Dr MAHESH JALINDRANATH NERKAR & TEAM- KARNATAKA

ALRKA201955 - VIDEO LARYNGOSCOPE WITH DUAL LIGHT SOURCE WITH MULTIPLE SUCTION PORT AND OXYGEN DELIVERY SYSTEM

Disclosed is a video laryngoscope. The video laryngoscope comprises a camera module, a fiber optic dual LED light source, a suction port, an oxygen delivery port, an algorithmic module, and a communication module. The camera module captures an image of a Larynx to facilitate intubation. The camera module comprises one or more LED light sources. The one or more light sources and the fiber optic dual light source illuminate the Larynx during intubation. The suction port cleans pharyngeal secretions during intubation. Oxygen delivery system ensures 100% oxygenation during incubation to avoid hypoxia during procedure. The algorithmic module is associated with a microcontroller unit to process the captured image in real-time. The communication module is configured with the microcontroller unit to transmit the processed image to an external computing device. The communication module communicatively coupled with a display unit to display the processed image.

View Inventors

201941024633 - K.S.SREENIVASAN AND TEAM

ALR201956 - LEAKAGE MONITORING AND MAINTENANCE SYSTEM IN WATER LINES

Water is a highly essential and demanded resource/commodity throughout the world. In earth, the available fresh water is only around some 6 percent of the total worlds water requirement taking into account of the water available in all over rivers, lakes and other fresh water bodies. Today, with a huge expansion of human population the water demand by the human society is generally taken care by transporting water from the natural sources through pipe lines to people community. During transportation of water through pipe lines, water leakage is a major problem associated in many public places like roads, streets, busy junctions in cities, towns etc. This invention provides a system for leakage monitoring and repairing system in water pipelines at particular locations in any water pipeline. This invention consists two portions, 1. The surveillance unit - a surveillance unit which consists of some electrical and electronics components interconnected which enable water leaks to be accurately detected in a diversity of device including all water pipelines for communicating the severity of the water-related problem. 2. The restoration unit, which has auto-repairing and scale removal attachments which are installed to fix leakages in pipelines by its own without human effort; the restoring unit automatically patches and heals the cracks by using epoxy components and patching tools.

View Inventors

201941025322 - Dr. S.VIJAYPRASATH AND TEAM

ALR201958 - SIGNATRON FOR SPEAKING & HEARING IMPAIRMENT

We have developed a device called Signatron for improving the difficulties in their communication. Bending detection sensor and Position Reader are utilized to analyse the bending actions of finger and hand. Signs are taken from both hands’ readings are combined and it is given to the controller through wireless or wired medium that converts this signal into speech for variety of actions. The speech is given through the mobile app. This helps the dump people to communicate strongly with the normal people. For Deaf people, the application created in phone transfers the speech signal to controller through wireless or wired medium. Then, Signal is processed and displayed as text. And when the name of the deaf people is called it gives alert to them through vibration and it is displayed as your name has been called.

View Inventors

201941025328 (PROVISIONAL) - Dr. S.VIJAYPRASATH AND TEAM

ALR201959 (PROVISIONAL) - SMART WATCH FOR VOICELESS

We have developed a gadget called smart watch for improving the difficulties in their communication. Position Reader sensor are utilized to analyse hand movements taken from single hand gesture readings are combined and it is given to the controller through wireless or wired medium that converts this signal into speech for variety of actions. The speech output is given through the mobile app or from watch itself. This helps the dumb people to communicate strongly with the normal people. The other process is to converting the speech to text. The speech input can be given through the mobile app or from the watch itself by keeping mic in the watch and output is displayed in the watch display. And when the name of the deaf people is called it gives alert to them through vibration and it is displayed as your name has been called.

View Inventors

201941025329 - Dr. S.VIJAYPRASATH AND TEAM

ALR201960 (PROVISIONAL) - MULTI-LANGUAGE SPEAKING GADGET FOR MUTE PEOPLE

Mute people normally communicate with others through sign language. But the normal people can’t understand the sign language and there are people talking various languages. So it is inconvenient for people to understand. We are converting the sign language to multi-languages that can be easily understood. This makes the communication more efficient. The sign language is read by the bending detection sensor & position reader and they utilised both hands reading are combined & it’s is given to the controller using wired or wireless medium to convert the sign language to speech. This speech output is given in multiple languages through the gadget itself or from the mobile app by connecting it to wireless or wired medium.

View Inventors

201931038188 (PROVISIONAL) - Dr. MEDALSON RONGHANG AND TEAM

ALR201961 - MOBILE PHONE CASE WITH INTEGRATED POWER GENERATION AND DISTRIBUTION SYSTEM

The present invention “mobile phone case with integrated power generation and distribution system” relates to a mobile phone case or cover with an inbuilt, detachable power generating and charging system. Moreover the system is capable of converting external mechanical power into DC electrical power through a power generator and distribution circuit system.

View Inventors

201941035898 - Dr.K.SUBBARAMAIAH AND TEAM

ALR201962 - A SYSTEM AND METHOD FOR PERSONALIZED LIGHTING SYSTEM WITH SLIDING RAIL APPARATUS

In our modern days we have everything in technology-wise of using the things but coming to electrical appliance in-home commercial building like light, fan etc. are 5 fixing as stable and in-ceiling of building place these appliance were not in use due to proper location not fixing in the hall or room, in building this appliance are still In stable and running its operations of human absence or some modification changes happening in building in shape structure or demolishing the building the whole electrical connection is rolled out and cant able to reuse of it so huge amount of money 10 will get lost. In some house or building’s hall is large we fix light in ceiling or wall it is stable so it gives light in that place only it can’t cover the entire place and people sitting area, in order to overcome this we just have technology of the personalized lighting system with sliding rail apparatus in-wall or celling. it can be automatically moving to anywhere on wall or ceiling through the remote control or automatic manner 15 or voice commands can activate and operate the electrical appliance. So, it gives effective light source wherever required in the house. And it also reduces the wastage of electrical power.

View Inventors

201941029791 A - Dr SHANTHALA B M & TEAM- KARNATAKA

ALRKA201963 - AN ORAL HYGIENE COMPOSITION COMPRISING PLANT PART(S) OF JATROPHA CURCAS

The invention relates to an oral hygiene composition comprising plant part(s) of Jatropha curcas. More particularly, the invention relates to an oral hygiene composition comprising extract of Jatropha curcasleaves very effective as antibacterial agent against carcinogenic microorganism streptococcus mutans.

View Inventors

201941029642 A - Dr AMSHUMALI MUNGALIMANE- KARNATAKA

ALRKA201964 - ORGANOMETALLIC COMPOUND WITH MAGNETIC PROPERTIES AND A PROCESS THEREOF

Present invention relates to organic spacers (ligands) of type 4npi electron hydrocarbons (Indecene, pentalene, dihydro cyclopentadienyl naphthalene) or substituted 4npi electron hydrocarbons (Indecene, pentalene, dihydro cyclopentadienyl naphthalene) made reacted with n-butyl lithium, the lithium salt of the ligand formed. This on treatment with Iron (II) chloride, organometallic compound is obtained. This organometallic compound when treated with high temperature under vacuum, a black colored material forms and this material is having a magnetic properties. The metal content is about 20-40% and organic content is 80-60%. The organometallic compound of the invention has magnetic property at room temperature and even at higher temperatures.

View Inventors

201941031713 - D. NARENDARSINGH AND TEAM

ALR201965 - E-VRUKSH

E-Vruskh starts with the monitoring of live pollution levels through inbuilt sensors. Whenever the PPM levels in the pollution rises, E-Vruksh’s air filter turns ON automatically. It sucks the polluted air and passes it through a set of filters. All the harmful pollutants are filtered and cleaned air is sent out. E-Vruksh records and maps the PPM levels of the pollution in the city. It has a solar power panel through which power is produced and stored in a battery. The battery is used to run E-Display boards, which in turn generates revenue. The battery is also used to charge Electric Vehicles and smart devices, both of which generates revenue. Thus E-Vruksh becomes self-sustainable for its maintenance. E-Vruksh has an inbuilt camera which can be used for surveillance and vehicle speed detection. It has a wi-Fi module to provide internet access at important locations in the city.

View Inventors

201941033816 - D NARENDHARSINGH AND TEAM

ALR201966 - SMART GROCERY INFORMATION SYSTEM FOR KITCHEN, KIRANA STORES AND SUPER MARKETS

The grocery jars in the kitchen/stores with Weight sensor and Ultrasonic sensors detects the level of the groceries in the respective container if the level of item below threshold point or gets empty, Automatically orders will be placed to the stores by the kitchen/Store jar system, Main server system at Store or Malls receives the order and particular groceries will delivered by the store logistics.so that time can be saved with going to stores in person along with this other ideas added are, temperature and humidity, lpg gas availability are sensed using temperature and humidity sensor, load cell sensor respectively. This data will be visualized in mobile android application developed in android studio using java and website developed using php. The stores like big basket and spencers’ etc. Can be benefited by improving their products.

View Inventors

201941038468 - Dr. SURESH S AND TEAM

ALR201967 - PAP SMEAR COLLECTING ELECTRONIC PENIS FOR CERVICAL CANCER SCREENING

There are different methods for control and prevention of cervical cancer which include conventional cytology (Pap smear), liquid-based cytology, human papillomavirus (HPV) screening, and vaccination against HPV. However, traditional methods are tedious and cumbersome due to manual intervention. The proposed system wants to offer an alternative for traditional manual approaches, a new system, called automatic pap smear collecting Smart Electronic Penis. The proposed device consists of micro controller controlled automatic rotating camera, micro controller-controlled pap smear collecting autopsy component, micro controller-controlled smear suction unit for storage, wireless networking component which is connected through external processing unit Raspberry Pi where the images are processed and stored in cloud storage service. The core technology of proposed solution is an AI - Artificial Intelligence led diagnostic platform that uses image processing and MI - Machine Learning algorithms for reliable and accurate cervical cancer screening. The infected image part of the cervix coordinates is sent to the Smart Electronic Penis device which direct the autopsy unit for the sample collection using the suction tube to store the specimen in the specimen collection storage space. The cloud storage service can store all cancer and diagnostic information in one place, personalized to the patient and or physician and easy to access when needed. The cloud storage place also allows the user to access medically accurate peer reviewed information, learn about recommended treatments and make informed decisions. This approach gives rise to easier and more versatile design of a device. The expected result is Improving patient care, facilitating the safe and effective use of products, improving patient awareness.

View Inventors

201941039625 - Dr. B GUNAPRIYA AND TEAM

ALR201968 - A SYSTEM AND METHOD FOR AUTOMATIC STREET LIGHTING AND ENERGY SAVING CONTROL

The present embodiment proposes an energy efficient of smart street lighting system. Most times we see that street lights remain switched ON or OFF at inappropriate times due to the negligence of the operators and the intensity of human work involved during day time. Traditional street lamp e.g. Sodium vapor, Metal halide, Incandescent, Fluoresent lamp consumes more power as compared to new advanced LED light. Streetlights can be operated free of cost by using automatic controls. In this invention, the IoT provides the real-time monitoring of the street lights and the energy Consumption with a set of components that function integratedly such as the LED light source device, a video sensing analysis means for acquiring information acquired information data processing, wireless communication module in accordance with an instruction issued by the data processing device, driver for controlling the brightness control means, video sensing analysis and a wireless network device driver apparatus for transmission of data between the LED lights and the data processing system.

View Inventors

201941037491 (PROVISIONAL) - Dr. B. Kalavathi and Team

ALR201969 (PROVISIONAL) - AUTOMATED RATION DISTRIBUTION SYSTEM

This project aims mainly in automating the distribution process. By automating the malpractices can be avoided. In already existing system, the Adhar card and the ration card are linked. By using this, we can make the system more interactive by including the mobile number and finger print. The materials are stored in smart container with digital scale fixed. By using the sensor we can control the quantity of products dispensed. While filling the container the quantity of materials filled is sensed by sensor and it is sent to the PDS authority.

View Inventors

201941043307 - Mr. GOKULAKRISHNAN

ALR201974 - AN ARTIFICIALLY INTELLIGENT SYSTEM AND METHOD FOR INTEGRATED IRRIGATION MANAGEMENT

An artificially intelligent system and method for integrated irrigation management for a agricultural lands, that comprises a Wi-Fi module, a set of sensors configured to sense various parameters of the soil and the plant life; another set of sensors to determine the availability of water in a storage medium; and a processor coupled with a memory with instructions stored to 10 extract the parameters from the generated signals based on the sensors; and compare the extracted parameters with pre-defined parameters stored in the database, wherein based on the comparison generate signals, using a control unit to turn on and off devices within the system and send notifications of alert through a visual or an audible mediums to the users providing for overrides.

View Inventors