Patents

Patents

Having a patent filed/granted is a phenomenal attainment in one's life as a researcher or an individual; being a certified inventor in the patent of a research entity is a grandeur and eminence in one's career on research. Allinnov - the world's first and only exclusive research industry, where every innovation from us will have the doors of opportunity open for limited number researchers to enrol with, work along, get trained and get certified as our prestigious researchers & inventors.

Patent

Patents with us here were all indigenously conceptualized and created by our in-house R&D team and the exclusive training services. Over here you may have a look at all our innovative creations and their provisional descriptions for which the patent applications are all published in the Official Gazette of the Indian Patent Office and some of those are under examination in the process of Grant. Upon reaching out the "View Inventors" option under each product exhibit you could view the details of all inventors who worked with us and get trained & certified upon conceptualizing and creating the innovation as the inventors gathered practical Hands-On learning in Intellectual Property Rights and Patenting.

For more details call us or write to us via email or with the Query form.

Cited below are a list of our innovations filed for patents through which we have certified 500+ researchers globally.

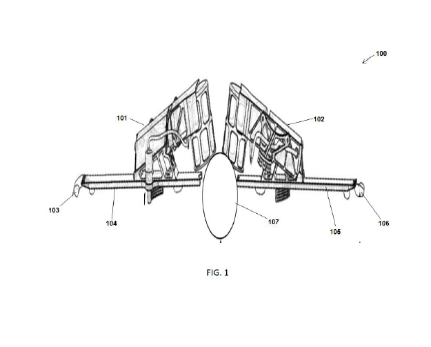
1918/CHE/2015 -

ALP201500 - INTELLIGENT HEAD MASSAGING DEVICE AND MEDITATION COACH

The Head massaging device consists of a housing that is mounted on a persons head and comprises of stationary major members and movable minor members of which the stationary major members house the Wi-Fi and Bluetooth device, the control circuitry, head phones or earphones and the power source. The minor members consist of massaging prongs which are actuated by linear actuators. The massager device uses its inbuilt EEG and heart rate sensors to actively measure the users body parameters to understand whether the user is achieving relaxation or not and changes the massage patterns and massage i

View Inventors

3651/CHE/2015 -

ALP201501 - KEYLESS AUTOMATIC HELMET LOCKING SYSTEM

A combination of permanent magnet and an electromagnetic mechanical helmet lock mechanism is provided that operates automatically keyless in the motorcycles. In particular, present invention relates to securing of the helmets to motorcycles on a lock upon the handlebar bolt region with a custom adjustable angular positioning ability that secures the helmet using a permanent magnet and an electromagnetic mechanical lock mechanism that operates automatically enabling the rider to easily access the invention for a strain free locking and removal of their helmets saving a good time and energy. T

View Inventors

4070/CHE/2015 -

ALP201502 - DOOR HINGES

A door or a window hinge is the device comprises a door / window stopping attachment which is composed with a manually engaging sliding mechanism which when engaged stops the door / window in a set position so that it does not rotate or dislocate from its set position due to wind and like other forces. The door hinge works as a door stopper through an integrated sliding spline shaft provided with a knob for operation to slide along its guide ways through a roller assembly and engage itself to a rotary internal splined knuckle stopping the rotation and locking the door / window in a position th

View Inventors

4259/CHE/2015 -

ALP201503 - HEIGHT ADJUSTABLE ROTATING IMMERSION HEATER

The Height Adjustable Rotating Immersion Heater is related to water heaters and more specifically to dip-rod type of water heaters for domestic purposes with multiple facilities and advantages to enable the user to operate the heater with different temperatures as it is needed by which electricity consumption can be reduced to far extent provided with an arrangement to position the heater coil to a depth that is required to be dipped in by maintaining a constant mix of water heat all over the vessel.

View Inventors

5374/CHE/2015 -

ALP201504 - AUTOMATIC TANK FILL CONTROL DEVICE WITH MANUAL OVERRIDE AND PUMP/MOTOR PROTECTION SYSTEM

AUTOMATIC TANK FILL CONTROL DEVICE WITH MANUAL OVERRIDE AND PUMP/MOTOR PROTECTION SYSTEM device that completely reduces the user intervention and totally frees the user from keeping watch on the water availability and refilling tasks with an additional provision for protection of the water pumping device from depreciation and early failure. More particularly it relates to complete automatic manual operation enabled water fill controlling device integrated with a pump protection element by reducing the risks like failure of pumps and wastage of huge quantities of water purposes due to overflows

View Inventors

201641010124 -

ALP201605 - AN AUTOMATED PERSONALIZED SHOPPING CART

The automated personalized shopping cart (APSC), said shopping cart comprising a cart with a wheeled base and basket portion in connection with said wheeled base and a handle apparatus in connection with said wheeled base, having a means for processing product package images, a camera, an internal and virtual internet based communication device, a load sensor and means for displaying pricing information derived from said image processor; wherein said means for obtaining personal information allows a user of the shopping cart to communicate with an integrated unit for completing the shopping.

View Inventors

201641015626 -

ALP201606 - TOOTHPASTE DISPENSING TOOTHBRUSH

A tooth brush that consists of a provision to load in tooth paste with replaceable cartridges. The habit of brushing differs from person to person based on their practices. Some people brush once a day and some do twice and some do brush after each and every meal. Whenever a user prepares for brushing there is a need to handle our tooth brush and tooth paste separately so that at times when the user is too sleepy in the morning, he slips the paste from the bristles and also accidentally and during travel to other places there comes a need to pick both the items together. During travel sometimes it happens that we forget the paste tube in the place where we brush and get along with only the brush. This invention will be a milestone in solving these issues in brushing. This brush can also be used with the traditional method of applying paste on the bristles and the vice versa.

View Inventors

201641025279 -

ALP201608 - FOOT COMFORTER SHOE

A shoe for providing comfort to feet of a user is provided. The shoe includes: a foldable funnel to receive water; a water reservoir at the bottom of the shoe to store the water received through the foldable funnel; a number of nozzles positioned inside of the shoe to shower the feet of the user from the water; and a pump to draw the water from the reservoir to inside of the shoe through the plurality of nozzles.

View Inventors

201641024529 -

ALP201607 - SOAP DISPENSER WITH A BODY SCRUBS

A handheld device having integrated liquid soap dispenser and body scrub is provided. The device includes a receptacle to store a volume of liquid soap; a soap-dispensing scroll wheel at the top of the device; a plurality of retractable bristles positioned at the bottom of the device; a plurality of scrub ejecting buttons placed at the either side of the device; and a means or provision at the bottom of the device for dispensing the volume of liquid soap.

View Inventors

201841003323 -

ALP201835 - A DOUBLE PICKS INSERTION LOOM

A system and method for double yarn picks insertion in plain weave loom in order to increase the production capacity of loom is described. More particularly, this invention relates to a warp and weft type weaving machine for woven textile fabric having multiple-inserted filling yarn picks as well as and an apparatus for said weaving textile fabric. The double yarn picks insertion loom comprises an opening structure, weft insertion mechanisms, warp insertion mechanism, shedding mechanisms, picking mechanism and a beat-up mechanism, wherein the opening housing comprises two of frames for weft and warp. Further, the double yarn picks insertion loom produces a plain weaving structure with high production efficiency, the design of the mechanisms is compact, the space utilization rate is high, occupied space of identical cloth production volumes is small.

View Inventors

201841031865 -

ALP201838 - SMART SELF POWER GENERATING MOVING DUSTBIN

Smart Self power generating moving dustbin discloses a device which separates the degradable and non degradable matter and converts a bio gas of the degradable matter into electricity: said device comprising a device cap, a collection unit, a degradable waste storage chamber, a non degradable waste storage chamber, a power generation unit, a plurality of wheels, a plurality of sensors, a micro controller and processor, a display, a GPRS IOT, a motor driver and a pick and place assembly. The device separates the degradable and non degradable wastes and converts the bio gas of the degradable waste into electricity and sends message through GSM module to the trash management when the Trash Collector is filled completely as sensed by the IR sensor. The pick and place assembly is based on image processing of dust by surveillance and it moves to a corresponding place to collect the dust using the motor driver and the four wheels and can be called a user using WiFi or other wireless communication.

View Inventors

201841036063 -

ALP201840 - A DEVICE FOR DETECTING SYNTHETIC FOOD INGREDIENTS

FAKE RICE AND EGG FINDER WITH SMART COOKING Introduction. These days people are talking about artificial rice made of plastic. Atrificial eggs, and also artificial cabbage. These are made in labs and being circulated in the market. There are reports that these things are being imported from China. With “artificial” Chinese eggs reportedly making their way into certain parts of Kerala, state Health Minister KK Shylaja said a probe would be launched to find out the truth. Ms Shylaja said that she has not received any complaints on “artificial” Chinese eggs, but she will examine the media reports and find out whether such a product has made its way into the state. “I will now ask the Food Safety Commissioner to seriously look into these media reports that such a product is available. It would be nice if someone comes up and provides a sample of it so the tests can be conducted quickly,” said Shylaja. Reports have recently surfaced that these “artificial” eggs were coming into the state from Tamil Nadu.According to reports, Idukki district of Kerala bordering Tamil Nadu is where this product is available. Idukki district Medical Officer Rekha also assured a probe into the matter. Unlike normal eggs “artificial eggs” are brown in colour and do not attract flies and do not spoil or rot even after cooking or leaving them out in the open. Fake plastic rice was found in China. It is made from potatoes and plastics. Medical experts have warned customers that the artificial rice is dangerous to health and its use may even lead to death. The Ministry of Agriculture of Malaysia noted that he did not receive any complaints about the fake rice.Although the Malaysian Ministry of Domestic As the Malaysian edition of The Straits Times writes, fake rice can enter the country illegally from China. But even if it is sold in Malaysia, then mostly you can find it in small stores, rather than in large supermarket chains. According to Shanghaiist paper, the plastic rice looks rather similar to the natural, but even after the heat treatment, he remains firm, so it is still possible to distinguish a fake. Problem solved Brief Description: Here is our invention to solve the problem of fake rice and egg. Fake rice will clear as per the process of moisture from water and Egg will be clear by the image processing process. Here is the extra smart option which can cook rice and egg as per our convenient. Which we can give communication from the dash board which is placed in our apparatus itself and also we can give communication from smart phone by using an application. From Dash board or from mobile we can set a type of rice and egg, moisture content of rice and egg, quantity of rice and egg. By using our invention automatically it will clean rice and egg. Different types of process is undertake by this device for cooking, cleaning and separating. Here is the final attachment which the message shows how much quantity got output perfectly, how much got wastage and with how much temperature.

View Inventors

201841038947 -

ALP201842 - VEHICLE BRAKING SYSTEM IN HILL STATION

Generally riding in hill station is so dangerous thing which cannot control at some point of time. Here are the same criteria for braking loss The snubbing pulsing strategy provides a higher cooling rate than that provided by the dragging strategy. However, the difference is not large. The dragging strategy is more conducive to the formation of hot spots than the snubbing strategy when new linings are installed The use of a snubbing strategy for mountain descents will not cause a common type of automatic slack adjuster to perform improperly. These findings all support the use of the snubbing strategy. The findings from the mountain descent testing , describe, indicate the following The overall level of brake temperature per pound of brake drum will be nearly the same regardless of whether a constant dragging or a snubbing pulsing strategy is used. The test data did not indicate that one strategy provided significantly better cooling than the other. The snubbing strategy involves higher pressures than the dragging strategy and thereby tends to provide a more uniform temperature distribution from brake to brake and from axle to axle. Through this mechanism, the snubbing strategy aids in making each brake do its fair share of the work even if there is a gross pneumatic imbalance. Very high brake temperatures result if some brakes are not doing much work. Tractors and trailers need to be matched through pressure and temperature balances if high temperatures are to be avoided in mountain descents. The grade severity rating system is not conservative in this respect since it lumps all of the brakes together as if each brake were doing approximately a fair share of the work. Significant losses in stopping capability can be attributed to misadjustment combined with pneumatic imbalance. Particularly poor stopping performance will occur after mountain descents when the tractors brakes are misadjusted and the trailers brakes are very hot due to pneumatic imbalance, or vice versa with hot tractor brakes due to pneumatic imbalance and the trailers brakes misadjusted. In some circumstances, with combined misadjustment and imbalance, the snubbing strategy has been found to lead to hotter brakes for the misadjusted brakes, which in turn leads to an additional increment in stopping distance after a mountain descent. The findings from the mountain descent tests favor the snubbing strategy in that the hottest brake will be cooler if snubbing is used rather than dragging. However, the differences in average brake temperature are not large enough or consistent enough to favor either strategy. The snubbing strategy appears to have an advantage over the dragging strategy because the snubbing strategy causes each brake to come closer to doing its fair share of the work, particularly if there is a pressure imbalance at low brake pressure. It is interesting to observe that a pressure imbalance can result in a situation that warns the driver that the brakes are overheating. If the brakes are imbalanced and the driver is proceeding at too high of a speed, the brakes doing more than their fair share of the work will heat up first. If the driver sees smoke or smells these hot brakes, the driver can use the other brakes the ones that have not overheated to stop the vehicle safely. This situation was observed in practice many times on the mountain on 1 to 64, the highway has broad shoulders. On many runs down the mountain with the test vehicle, other heavy trucks with one set of smoking brakes were seen stopped on the shoulder. The drivers had apparently learned that they did not need to pull into the runoff ramps and get stuck. The mountain has two runoff ramps, one at the middle and one at the bottom. The one in the middle has been used about once a week since it was built. The drivers chose to pull over, stop, and wait on the shoulder for about 40min for their brakes to cool. There is a danger that a tire might explode at the bead due to the nature of the heat flow while the vehicle is stopped. This is a particularly dangerous situation in that it may take about 10 min for the wheel to explode after the vehicle has stopped. The driver should stay clear of the wheels with hot brakes. The point to be made is that there may be circumstances in which some brakes overheat and the other brakes can easily stop the vehicle. This situation can be used as a safety warning if the road has plenty of shoulder room to stop in. However, there is a significant loss of time while waiting for the brakes to cool. Nevertheless, drivers of vehicles with some brakes overheated should stop to let the brakes cool before proceeding. With regard to instructions in the Commercial Drivers License Manual, the results of this study do not show that dragging is superior to pulsing. With respect to the overall average temperature, the results indicate that either strategy is as good as the other. For a given vehicle on a particular mountain, the total heat retained by the brakes after descending the mountain will be nearly the same regardless of whether a pulsing or dragging strategy is used. The important issue is to use a control speed that is appropriate for the slope of the downgrade, the length of the downgrade, the weight of the vehicle, and the balance of the braking system. A snubbing strategy that allows for approximately some mph speed variation about the control speed has been found to be reasonable and practical. The owners and operators of commercial vehicles should be made aware that the snubbing strategy will produce more uniform temperatures throughout the vehicle, thereby leading to less brake wear overall and less frequent need for readjustment and relining. They should also be made aware that after mountain descents misadjustment on one set of brakes can lead to long stopping distances, particularly if the brake system has a large pressure imbalance tending to reduce the work done by the misadjusted brakes. Although the snubbing strategy has been found to have advantages over the dragging strategy, the main conclusion from this investigation of downhill braking is that heavy trucks should proceed down the mountain at a speed that will be low enough to prevent the brakes from overheating regardless of the braking strategy employed. Given that a prudent control speed is used by the driver, the benefits of a snubbing strategy can be safely attained. These conclusions support the recommended wording of advice for commercial vehicle drivers as presented in of this report. Specifically, that advice is to go slowly in the proper gear and remember that a snubbing strategy can aid in a. making each brake do its fair share of the work and b. reducing the tendency for hotspotting of brake drums. Our Invention Provides a system to stop a vehicle without making any accident at any point of time with the manual effort by installed of some mechanisms.

View Inventors

201841042709 -

ALP201841 - FLOOD DRAINAGE SYSTEM

By the report of indian flood as many as 12 deaths were reported in drownings, landslides and electrocutions in the first wave of floods in Assam since last Wednesday, state disaster management official Suman Ahmed said. Five of these deaths were reported. An estimated 448,495 people were affected in Assam, including being displaced, stranded in their homes or suffering damage to their crops, land or livelihood. Disaster management authorities were rescuing villagers from low-lying and inundated areas. Eight flood-related deaths have been confirmed since mid-June from the neighboring state of Manipur where over 200,000 people were affected, officials said. Other states in the region were also hit by floods including Tripura, where three deaths were reported in the monsoon season, according to local media reports. The situation was improving in Manipur and Tripura as rains eased, but thousands of homeless were still in state-run relief camps. Several areas remained cut-off due to landslides that had damaged roads. Commonly dangers accidents are happening during flood times, because the highways or main roads are acting as reservoir. So our invention implemented the smart drainage to avoid those problems. Our objective is to implement the setup in a flood prone area. This means that maintenance work is arranged in response to enquiries and reports of flooding. Our invention driven Automated System will be installed in the low laying areas where the water gets clogged. The Sensor will detect the depth of the water. If the water exceeds the Safe height, the system will trigger the pump connected to it and drive the water to another way which is connected with all drainage exit. The depth of water will be constantly displayed on the LCD so that it is kept under constant vigilance by the supervisors. Also the alarm would be indicated by a siren and the flickering LED light. Our system and its sub parts are programmed. The various libraries required for the system functioning is called to the program and the methods are implemented as per the requirements. The automated system can be fixed anywhere, where the flood and drainage monitoring is required, irrespective of the kind of fluid involved. The program once fed in the system makes it run without software support which makes it very comfortable. The objective of the system is to avoid water overflow in order to prevent the appliances from getting effected. Flood water and waste water storing is one of the most common and things that happens post heavy down power. This causes flooding and other water borne diseases. Clogging of water is caused due to improper drainage of the access water. Hence with this system we aim at solving the problem by diverting the access water to drains once the rain water has reached above a certain mark. We will be using smart systems to work with this system. This Systems consists of a Micro processor or a micro controller, a sensor and an actuator.

View Inventors

201841046519 -

ALP201845 - A PROTECTIVE MOBILE CASE

Generally we use mobile case to protect mobile phones from damage. At present we have different variety of mobile cases, like stiff one, soft one made up of silicon etc.,. But the smart mobile case is coming up with a system to store the data and also with a camera. In every phone, storage system plays a vital role to store an important data of a user, this storage system can be used when the mobile internal storage is running low. Coming to camera it is a basic need of a user in day-to-day life, with this Smart case user is getting add on advantage to increase their picture performance.

View Inventors

201941006917 -

ALP201849 - SYSTEM AND METHOD FOR DECOMPOSING ORGANIC AND FOOD WASTE

Environment pollution is a wide-reaching problem and it is increased by human populations is great. An earth can recycle all the things in environment by its own. But all these actions are takes some time. Nowadays humans doesn’t give chance to environment for recycling. Peoples pollute these environment several times more than its recycle time. Most of human actions are destroying and polluting the various aspects of environments like air, soil, and water environments. Some pollutions are giving directly higher level impact on peoples. Example smog effects, drainage water floods, etc. Foods and vegetable’s wastes are giving higher impacts during its decomposing stages. These king of materials when decomposing stages they are releasing methane and some other gases with Unbearable smells. Also a lot of insect species are using that decomposing materials to promote their offspring. Where the problem is, there most of species are mosquitoes and flies, these are the causes of most diseases like malaria, dengue fevers and swine flu etc. mostly city markets are facing this problems. Most of peoples are not like to go for market because of these bad smells and inflectional threats like malaria and dengue. So, there is need to clean that environment and safe and disposal solution. This invention giving solution to that decomposing process. The concept of these project is reducing the environment pollutions for minimizing health infections by avoiding direct dumping of food wastages and fruits & vegetable wastages at outsides. This invention is a decomposing system which is having ability decompose the materials by more than 100 times faster, so, there is no chance to pollution or disease infections. The foods and vegetables wastes are mostly discharging from hotels & market places. So, this project highly recommended to these kind of places. This invention looks like container or Trash cart and it is a decomposing system which is decompose the organic and inorganic materials by using chemical reaction with heat and high pressure for safe & faster decomposing process. the decomposing process will processing organic/inorganic wastes into powdered soil which contains more nitrogen and carbons so, it can be used as fertilizers. This device can be used for decompose the materials like organic/inorganic wastes from city markets and where the materials want to quickly dispose the materials.

View Inventors

201941013595 -

ALP201950 - SMART FOOD STORAGE SYSTEM

A smart food storage system and method for tracking states of stored food is disclosed. The disclosed system and method are based on a container to store one or more food items; one or more sensors configured with the container to detect or scan the stored food items to extract one or more attributes data associated with food information of the food items; processors coupled with a memory, the memory comprising a set of instructions embodied in the memory that is executable by the processors to compare the extracted one or more attributes data with a predefined stored data in a database to determine sates comprising any or a combination of fresh, semispoiled, spoiled, and expired status of the food items; and a display unit operatively coupled with the processors to display the determined states of the stored food items.

View Inventors

201941014366 -

ALP201951 - PORTABLE BEVERAGE PREPARATION APPARATUS

A portable beverage preparation apparatus is disclosed. The disclosed apparatus comprises a beverage container having a base and a cylindrical side wall extending from the base defining a reservoir with open upper end to accommodate liquid, the beverage container having a heating element configured within the base of the beverage container; a holder having at least one cup-like prion to receive the beverage container; and one or more recipes capsules to dispose within reservoir of the beverage container, wherein a power source is configured with least one cup-like prion of the holder to power the heating element of the beverage container for heating the liquid within the beverage container. A cover such as a spill proof cap is adapted for covering the beverage container from the upper end. The recipes capsules included any or a combination of a sugar, coffee power, milk power, tea powder, and the like.

View Inventors

201941019210 -

ALP201952 - SYSTEM AND METHOD TO CONTROL TURN INDICATORS OF AUTOMOBILES

A system and method for controlling turn-signal indicators of a vehicle are disclosed. The system includes a navigation unit to determine location of the vehicle in real-time; and one or more processors coupled with a memory, the memory storing instructions executable by the one or more processors to receive the determined location of vehicle from the navigation unit. The one or more processors receive predefined data stored in a database coupled to the one or more processors, and the predefined data is corresponding to a destination of the vehicle; and the one or more processors determine a route for the vehicle based on the received location of the vehicle and the predefined data. The one or more processors control (i.e. activate and/or deactivate) any of the plurality of turn-signal indicators based on the determined route in real-time.

View Inventors

201941020280 -

ALP201953 - INTELLIGENT CONTROL SYSTEM FOR VEHICLES

A system and method for controlling for controlling operation of driving components of a vehicle are disclosed. The system includes sensors operatively coupled to the driving components to sense operation of the corresponding driving components in a driving condition of the vehicle and to generate first signals based on the sensed operation of the corresponding driving components; a controller comprising processors to receive the generated first signals from the plurality of sensors; compare the received first signals with a predetermined data stored in a database; and determine whether operations of any or a combination of the plurality of components are appropriate or inappropriate for the drive condition of the vehicle based on the comparison. The control unit can control operation of the driving components when operations of any or a combination of the driving components is inappropriate.

View Inventors

201941030758 -

ALP201954 - SYSTEM AND METHOD FOR COOKING FOOD ITEMS

A system and method for cooking food items is disclosed. The system includes a robotic arm assembly having at least one robotic end effect or having access to compartments, wherein any of the compartments stored with culinary elements required for preparation of dish selected from set of dishes; and control unit operatively coupled to the robotic arm assembly, and configured to: receive, from database, upon selection of the dish, a first set of data packets; and control, based on processing of the received first set of data packets, the robotic arm assembly, wherein the robotic arm assembly configured to identify the compartment associated with the selected dish, and collect, using the at least one robotic end effect or, the culinary elements in a suitable amount for cooking, using smart cooking appliances, food items corresponding to the dish.

View Inventors

201941035581 -

ALP201955 - PORTABLE AIR CONDITIONER FOR VEHICLES

The present disclosure provides a portable air conditioner for vehicle. the disclosed conditioner comprises a housing fitted inside a passage compartment of the vehicle; a plurality of air inlet vents are provided on the housing to receive air into the housing, and a plurality of air outlet vents are provided on the housing to outflow air into the passenger compartment. A conditioning assembly is configured inside the housing, the conditioning assembly comprises an evaporator unit, a compressor unit, condenser unit, an expansion valve, and a refrigerant hose connecting the evaporator unit, compressor unit, condenser unit, and the expansion valve, the refrigerant hose configured to allow flow of a refrigerant fluid. The evaporator unit is configured to cool the received hot air in the housing to allow flow of cooled air through the plurality of air outlet vents into the passage compartment of the vehicle.

View Inventors

202041006805 -

ALP201956 - AN APPARATUS FOR COCONUT REAPING AND HANDLING PURPOSES

An artificially intelligent coconut reaping machine that serves the purpose without any human interference.

View Inventors